Spis treści
Elon Musk znów to zrobił. Wystąpił w popularnym podcaście Joe Rogana i po raz kolejny odpalił medialną rakietę. Tematem, który rozgrzał wyobraźnię, jest oczywiście Tesla Roadster drugiej generacji i jej rzekoma zdolność do… latania. CEO Tesli z pełnym przekonaniem zapowiedział, że „niezapomniana” demonstracja tej technologii odbędzie się jeszcze przed końcem tego roku.
Wszystko brzmi ekscytująco, prawda? Jest tylko jeden, drobny problem. Słyszeliśmy to już wielokrotnie. W świecie Elona Muska obietnice bywają niezwykle elastyczne, a daty premier traktowane są raczej jako luźna sugestia niż twarde zobowiązanie. Roadster jest tego najlepszym przykładem.
Dlatego, zamiast bezkrytycznie przyjmować te rewelacje, przeanalizujmy na chłodno, co tak naprawdę kryje się za tą szumną zapowiedzią. Co Musk obiecał, co jest technicznie możliwe i co prawdopodobnie zobaczymy?
Wieczna obietnica, czyli historia opóźnień
Zanim przejdziemy do „latania”, spójrzmy na fakty. Nowa Tesla Roadster została zaprezentowana światu jako niespodzianka w… 2017 roku. Tak, to już osiem lat. W tamtym czasie jej specyfikacja zwalała z nóg: 0-100 km/h w 1,9 sekundy, zasięg blisko 1000 km. Samochód miał trafić do produkcji w 2020 roku.
Mamy końcówkę 2025 roku. Przez ten czas świat motoryzacji poszedł do przodu, pojawiły się takie auta jak Rimac Nevera czy Pininfarina Battista, które już dostarczają klientom podobne lub lepsze osiągi. A Roadstera jak nie było, tak nie ma. Premiera była przesuwana co roku, a sam Musk tłumaczył to problemami z łańcuchem dostaw, priorytetem dla Modelu Y i Cybertrucka, czy ostatnio – chęcią dopracowania „radykalnej technologii”.
Kontekst opóźnień jest kluczowy. Po tylu latach obietnic, Musk musi w końcu coś pokazać. Nawet jeśli nie jest to gotowy produkt, potrzebuje widowiska, które na nowo rozbudzi emocje i utrzyma zainteresowanie projektem. I tu na scenę wchodzi Joe Rogan.
„Bardziej szalony niż James Bond”
Podczas ponad trzygodzinnej rozmowy, temat Tesli pojawił się na krótko. Musk przez chwilę próbował namówić Rogana na Cybertrucka, po czym prowadzący zapytał wprost: co z Roadsterem?
Wtedy Musk zaczął swoje show. Potwierdził, że firma „zbliża się” do demonstracji prototypu. Gwarantował, że demo będzie „niezapomniane, na dobre lub na złe”. Przywołał nawet swojego przyjaciela, Petera Thiela, który miał kiedyś narzekać, że przyszłość obiecywała nam latające samochody, a zamiast tego dostaliśmy media społecznościowe. „Jeśli Peter chce latającego samochodu, powinien móc go kupić” – stwierdził Musk.
Gdy Rogan dopytywał, czy auto naprawdę będzie latać, Musk uchylił się od odpowiedzi, mówiąc, że „trzeba poczekać na demo”.
Następnie podkręcił atmosferę. „Myślę, że to ma szansę być najbardziej pamiętną premierą produktu w historii” – powiedział. Dodał też: „To jakaś szalona, szalona technologia, którą mamy w tym samochodzie. (…) Jeśli wziąłbyś wszystkie samochody Jamesa Bonda i je połączył, to jest to coś bardziej szalonego”.
Na koniec zasiał ziarno wątpliwości, czy ten pojazd w ogóle można jeszcze nazywać samochodem. To klasyczny Musk – mistrz budowania napięcia (hype’u), który operuje na granicy faktów i fantazji.



Co to znaczy „latać” w wydaniu Tesli?
To sedno całej sprawy. Czym jest owo „latanie”, o którym mówi Musk? Z pewnością nie chodzi o pojazd w stylu Jetsonów czy Powrotu do Przyszłości. Mamy tu dwie prawdopodobne ścieżki technologiczne, o których spekuluje się od lat.
Pierwszą jest słynny „Pakiet SpaceX”. Musk wspominał o nim już w 2017 roku. Chodzi o zastosowanie dysz zimnego gazu (cold-air thrusters), podobnych do tych używanych w rakietach do manewrowania w przestrzeni. Zasilane sprężonym powietrzem (lub innym gazem) miałyby być ukryte, np. za tablicą rejestracyjną.
Ich podstawowym zadaniem nie byłoby latanie, lecz drastyczne wspomaganie osiągów. Strumień gazu skierowany do tyłu działałby jak dodatkowy napęd, a skierowany w dół – generowałby potężną siłę docisku, pozwalając na pokonywanie zakrętów z nierealną prędkością. Musk już wtedy wspominał, że być może pozwoli to autu na „krótkie podskoki” lub „unoszenie się”.
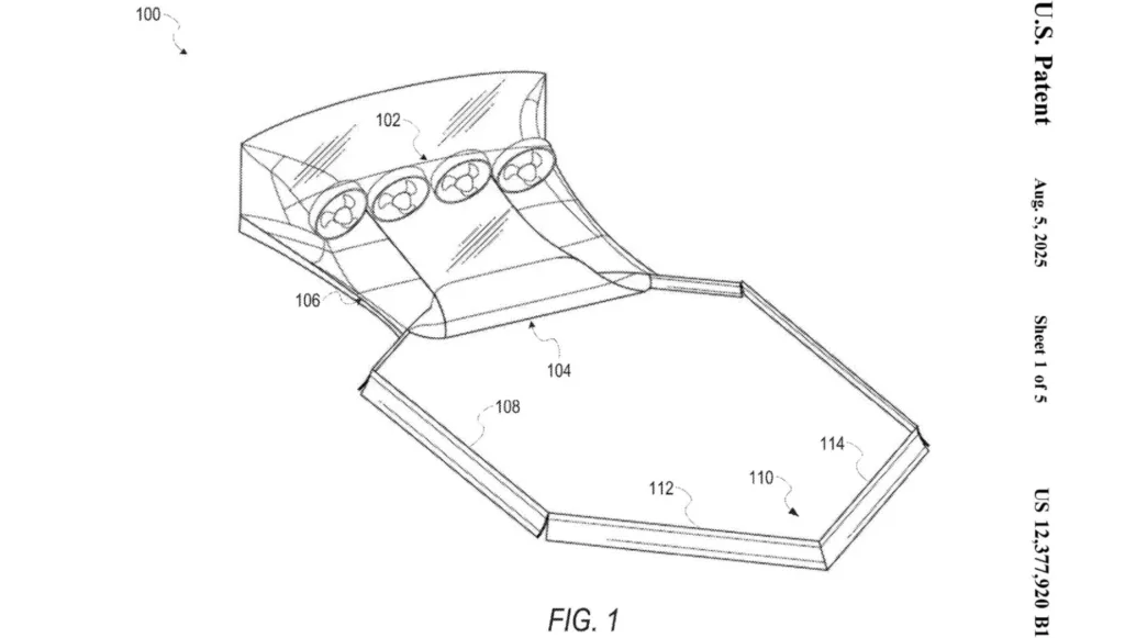
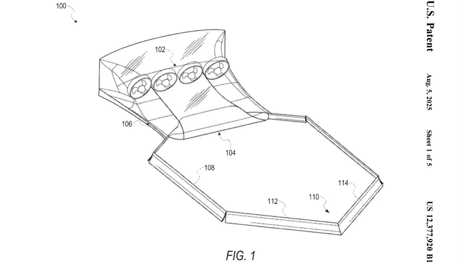
Druga opcja, bardziej przyziemna, ale wciąż rewolucyjna, pojawiła się niedawno w zgłoszeniu patentowym Tesli. Opisuje ono system aktywnych wentylatorów ukrytych w progach bocznych pojazdu. Miałyby one wysysać powietrze spod podłogi, tworząc efekt próżni. To technologia znana jako „fan car” (samochód-wentylator), która została zakazana w Formule 1 (w bolidzie Brabham BT46B), ponieważ generowała tak ogromny docisk, że czyniła auto niebezpiecznie szybkim w zakrętach.
Co ciekawe, jeśli odwrócimy kierunek działania takich wentylatorów i skierujemy strumień powietrza w dół, teoretycznie możemy wygenerować siłę nośną. Nie wystarczy ona do swobodnego lotu, ale mogłaby pozwolić na kilkusekundowy zawis (hover) tuż nad ziemią.
Spokojnie, to nie będzie latający dywan
Tutaj potrzebny jest zimny prysznic. Bądźmy szczerzy: Tesla Roadster nie będzie latającym samochodem. Nie będzie pojazdem typu eVTOL (electric Vertical Take-Off and Landing), który mógłby nas zabrać z domu do pracy ponad korkami.
Musk doskonale wie, że ludzie marzą o „latających autach” i świadomie używa tych skojarzeń do budowania wizerunku innowatora. Rzeczywistość jest jednak brutalna. Prawa fizyki, a przede wszystkim obecna gęstość energii w bateriach, nie pozwalają na zbudowanie pojazdu, który byłby jednocześnie pełnoprawnym, dopuszczonym do ruchu drogowego autem i zdolnym do dłuższego lotu statkiem powietrznym.
Nawet jeśli zignorujemy fizykę, pozostają regulacje. Wyobrażacie sobie proces homologacji samochodu wyposażonego w silniki odrzutowe? Co z hałasem? Co z odłamkami wyrzucanymi spod dysz z potężną siłą? To koszmar regulacyjny.
Dlatego najprawdopodobniej zobaczymy bardzo widowiskowy, ale starannie wyreżyserowany „trik”. Może to być spektakularny „podskok” auta, kilkusekundowy zawis metr nad ziemią lub przyspieszenie wspomagane gazem, które będzie wyglądać jak teleportacja. Będzie to genialny chwyt PR-owy i pokaz inżynieryjnego geniuszu, ale nie rewolucja w transporcie.
Co dalej z projektem?
Czy zobaczymy demo do końca roku? Biorąc pod uwagę presję, jest to możliwe. Musk musi coś pokazać. Nie będzie to jednak premiera rynkowa.
Prawdziwe pytania, na które wciąż nie znamy odpowiedzi, brzmią inaczej. Kiedy ruszy produkcja? Jaka będzie ostateczna cena (pierwotnie mówiono o 200-250 tys. dolarów)? Ile sztuk Tesla będzie w stanie wyprodukować?
Obecnie Tesla ma na głowie rozkręcanie produkcji Cybertrucka i prace nad nowym, tanim modelem (tzw. Model 2). Roadster to projekt typu „halo car” – jego zadaniem jest budowanie wizerunku marki, przyciąganie uwagi i demonstracja technologii, która być może kiedyś trafi do tańszych aut. Nie jest to priorytet biznesowy.
Ostatnie doniesienia o zatrudnianiu przez Teslę inżynierów specjalnie do projektu „baterii dla Roadstera” sugerują, że prace faktycznie nabrały tempa. Wygląda na to, że auto otrzyma zupełnie nowy, dedykowany pakiet akumulatorów.
Niezależnie od tego, czy Roadster będzie „latał”, „skakał” czy tylko „unisił się” w miejscu, jego ostateczna premiera – kiedykolwiek nastąpi – z pewnością będzie wydarzeniem. Pytanie brzmi, czy po tylu latach czekania ta magia PR-u i „szalona technologia” wystarczą, by uzasadnić opóźnienia i (prawdopodobnie) astronomiczną cenę.
A jakie jest Wasze zdanie? Czy „latający” Roadster to rewolucja na miarę XXI wieku, czy po prostu najbardziej wyrafinowana marketingowa zagrywka Elona Muska? Czekamy na wasze opinie w komentarzach.












Dołącz do dyskusji